日期:2021-09-14 06:39:59作者:浑世小魔王图片:未知人气:+

现代生活节奏之快,时间之紧迫,甚至于你想一分钟都当作两分钟来使用,但是有时当去银行、去移动服务大厅、去医院、车管所等等地方办事,或者你去机场购票、取票,高铁出行,所有须要使用到身份证刷卡的地方,可能你会遇到这个比较尴尬的事儿,身份证无法刷卡了,于是附近很多人、甚至于工作人员都会告诉你:你的身份证没磁了!找派出所去加磁。
你的身份证是真的没磁了吗?
我们目前使用的身份证是属于第二代身份证,第二代居民身份证是由多层聚脂材料复合而成的单页卡式证件,采用非接触式IC卡技术制作,具备视读和机读两种功能,证件尺寸与信用卡基本一致。证件正面印有国徽、证件名称、长城图案、签发机关和有效期以及彩虹扭索花纹。
各位看官注意了,二代身份证采用的是非接触式IC卡技术制作,并非是和老式的银行卡或者其它老式磁条式刷卡技术一样的,如果各位的身份证正在身边的话,不妨马上拿出来观察一下,身份证正面、或者背面是都没有磁条的,也就是说,你的身份证本来就没有磁条、何来身份证没磁了、去派出所加磁更是无稽之谈。
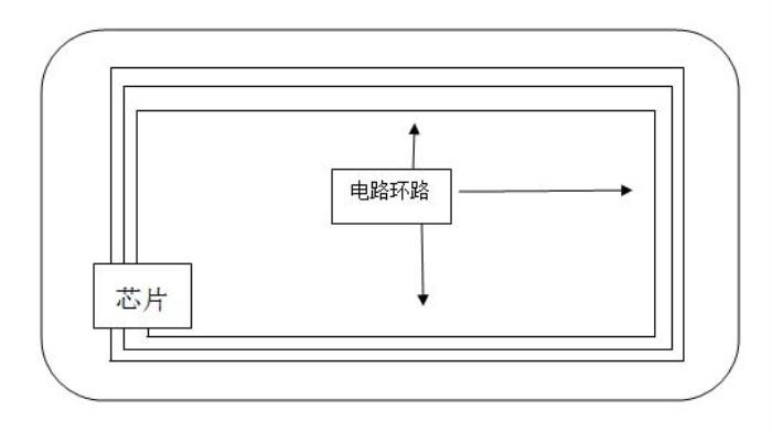
那么我们的二代身份证是怎么实现刷卡的呢?
各位看官如果小有闲情,不妨在灯光偏暗的环境中,使用手机电筒,把身份证放置到灯光之上仔细观察,也许你会有意外的发现,在身份证的一角,有一指甲大小的暗影,另外在距离身份证四周边缘五毫米左右,有一个环路的阴影。这就是二代身份证的内部结构:一个内置存储个人信息的芯片和连接芯片且环绕身份证四周的一个电路回路。

在实际应用中,身份证和身份证刷卡机(阅读器)配合使用的,当你把身份证靠近刷卡机的过程中,身份证中的电路环路在刷卡机产生的磁场中存在磁场的变化,从而在身份证电路环路中产生磁感应电流,进而身份内置芯片开始工作,与刷卡机进行安全信息核验认证后,产生信息交流,从而实现身份证信息机读。
看到这里,各位看官应该是明白了,身份证无法刷卡,并非是你的身份证没磁了。而是你的身份证损坏了,要么是里面的芯片损坏、要么是电路回路损坏,才会导致你的身份证无法机读。
那么,当你的身份证无法刷卡的时候,应该怎么处理呢?
若是有条件的话,你可以换一个刷卡器试试,排除是否是刷卡器本身的问题。只要有一个刷卡机能识别你的身份证,就表明你的身份证是没有问题的。要是你没那么幸运,所有你试过的刷卡机都无法识别的时候,那你就只能是带着的身份证直接到就近的公安派出所做最后检验,恭喜你,身份证损坏换领须要缴纳40元的工本费,申请重新办理,15个工作日之后再去领取新的身份证。
最后,我们平时使用身份证应该有哪些注意呢?
参照于二代身份证结构原理和功能,要保证身份证的正常视读和机读,首先不能让身份证正反面表面有破损、图画或刻痕,所以在身份证不使用的时候不能当玩具一样给小孩玩耍;然后身份证不能弯折、不能长时间和强磁物品放在一起。最好是在你不使用的时候用一个平整的卡包放在一起。

温馨提醒:身份证只能是本人使用,严禁私自冒用他人身份证,否则将承担一切法律后果。
本站所发布的文字与图片素材为非商业目的改编或整理,版权归原作者所有,如侵权或涉及违法,请联系我们删除,如需转载请保留原文地址:http://www.gzkyz.com.cn/article/103545.html

浑世小魔王
倾诉你的情感,分享属于你们的故事 Copyright 2005-2020 www.gzkyz.com.cn 【可可情感网】 版权所有 |
湘ICP备20010517号
声明: 部分信息与图片素材来源于互联网,如内容侵权与违规,请与本站联系,将在三个工作日内处理,互联网不良信息举报邮箱:*****@qq.com