日期:2021-11-12 06:22:55作者:高能E蓓子图片:未知人气:+
【高能E蓓子】系今日头条签约作者,此文为高能E蓓子原创,禁止任何形式的转载,转载请后台联系,但欢迎你们转发到朋友圈。
风雨飘摇的乐视是前段时间最霸屏的新闻之一。
7月4日,贾跃亭控制的乐视控股持有公司的部分股份被冻结。

7月6日,贾跃亭在微博表示自己将会通过“乐视汽车”把大家的欠款还上。

将大家的欠款承诺寄托在一个未知的新产品里,确实不太靠谱……
对于这个承诺,大热天在乐视门口要债的债主还是清醒的,不要跟我谈梦想。

乐视能不能还上钱暂且不表,此时我们只想温馨提醒大家一句,你们的《甄嬛传》存了吗?


其实,乐视早在2011年4月《甄嬛传》大受欢迎之前,就已花掉当年电视剧版权所能出到的最高价格——2000万元购买了它的独家播放权。

没了乐视我们去哪当甄嬛十级学者……
不得不说,当时乐视的投资眼光还是很稳的,以至于后来有学者分析,乐视是《甄嬛传》撑起来的,2000万的投资获得了3个亿的回报。

后来乐视乘胜追击,投资拍摄了年度大戏《芈月传》,同款女主孙俪。

正是《芈月传》打开了乐视商业运作的大门,未播出已经收回成本。

当年的“双十二”,《芈月传》周边生态销售额更是达到令人震惊的5.1个亿。

那一年的乐视还引进了《太子妃升职记》这样的网剧。

知乎上有知情人士爆料:因为网剧的买断制让乐视拿了大部分钱。

心疼本来就没钱的剧组。
《太子妃升职记》的会员模式让乐视的直接收入达到4100万元以上,虽然当初乐视并不看好这部剧。


02
对于资本而言,此前的乐视显然十分具有吸引力。尤其是那些没有搭上第一班投资红利的明星们,他们纷纷把宝押在了乐视身上。
1
哪些明星投了乐视?
乐视影业的明星股东有:
李小璐、郭敬明、孙红雷、黄晓明、张艺谋、孙俪、冯绍峰(冯威)。







这里的出资额只是对应股票数的出资额,不是实际出资额
其中还有一个上海慧形慧影影视文化公司的法人是邓超。


乐视影业明星股东出资情况表如下:
股东实际出资额(万元)认缴出资额(万元)占股比慧形慧影工作室(法人邓超)3000359.910.4301孙俪工作室2000239.940.2867孙红雷2000239.940.2867李小璐50059.980.0717冯威(冯绍峰)1000119.97020.1434黄晓明50059.980.0717郭敬明5005000.5975张艺谋208.3312011.4359在乐视影业的法人股东里还有一个北京锦阳资产管理中心(有限合伙),其中有部分明星通过这个公司对乐视影业间接持股。

又据乐视影业的公告表,北京锦阳资产管理中心(有限合伙)的明星股东有:
苏芒、刘涛、秦岚、陈赫、马苏、贾乃亮、苏红、霍思燕、倪妮。

其中有南京云鹰低飞影视文化工作室法人是倪妮。
北京锦阳资产管理中心实际出资合计11510万元,在乐视影业股表中认缴出资额1379.65万元,占股1.64%……这也就是说18位股东凑了一个亿,却和真正出资了200万的张艺谋占股比只差了0.2%。

以上信息说人话就是,乐视影业虽然吸引了大量明星股东,但它对待各位明星方式依然是“看菜下饭”。
比如,黄晓明与手握大热IP的郭敬明待遇就不同,同样出资500万元,郭敬明以一元一股的价格认购到500万元,而黄晓明以8.3元一股的价格仅仅认购到59万元,将近相差了8倍。

晓明的表情如上图
另外,乐视系中的乐视体育同样吸引了不少明星股东,但是这些明星股东真的都投了钱吗?

乐视体育公布的B轮融资的名单中,有11位明星股东。

我们又细究了乐视体育47位股东和他们的所有马甲,没发现除刘涛以外的其他明星股东。

这就引发了我们的第二个疑问:
2
王宝强真的没投乐视,那马蓉投了吗?
王宝强方面曾经否认过参与投资,但前段时间有知情人透露,“马蓉被冻结了乐视的股权。”

此报道的作者、《每日经济新闻》记者表示,马蓉的股权隐藏在“北京银石东方投资顾问有限公司”这个马甲下。

不过这个北京银石东方投资顾问有限公司的股东连续4年一直是贾跃芳和贾新安,并未发现股东更变记录。

所以马蓉到底有没有通过这家公司持有乐视股权,先打一个问号。
3
刘涛的5000万去哪了?我们为什么只看到了邓超孙俪的5000万?
还有一个问题就是:刘涛到底是不是乐视被套牢中损失最大的明星呢?
刘涛2016年3月成为乐视股东,乐视ceo雷振剑发微博盖章。

2016年3月份时就有报道称刘涛在乐视投资了近亿,成为明星股东。

2016年5月份,新闻标题变成刘涛投资5000万,是出资最多的明星股东。

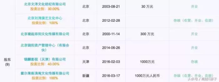
但在查询乐视体育里的具体股东出资额中,刘涛的身影隐藏在霍尔果斯伊恩股权投资管理合伙公司这个马甲里。

这个公司在乐视体育曾经的实际出资额具体数值是112.87万元

为什么是曾经呢?这个公司只是乐视体育的历史股东,现在的股东里也没有刘涛了。

在刘涛剩余的7家公司也未发现与乐视体育有任何的联系。

所以,刘涛在乐视体育的5000万没有以股权或认缴资金的方式在公司账上表现出来。
目前为止,真金白银损失最大的明星其实是娘娘一家了,邓超出资乐视影业3000万,孙俪工作室出资乐视影业2000万,合计被套牢5000万。

心疼!!


03
除了真金白银被套牢的明星以外,乐视风波还波及了哪些明星的利益呢?

2013年,乐视以高于市值的价格收购了东阳花儿影视,花儿影视之所以能有这样的底气,源于王牌导演郑晓龙。

郑晓龙与乐视牵手的第一部作品就是《红高粱》,这部作品的大热营销算是乐视送给花儿的第一份大礼。

先在开播前预热上线多个主题视频和预告。

开播后发起新浪话题,通过发放主创签名照、限量画册等小礼物,与粉丝互动。

后续花儿影视与乐视的分工基本上为花儿出品精品剧,乐视网负责互联网营销。从项目立项开始,乐视网就已经开始考虑传播。

大热的项目例如《芈月传》提前五个月开始营销。

而今年花儿影视出品的《急诊科医生》在乐视视频官微的微博上零宣传。

乐视花儿也只是转发了一条此剧信息,片花虽然已经发布但是营销严重滞后。

乐视影业自己的电影也大缩水,电影《刺局》原定上半年开机制作成本2.2亿,电影男主敲定冯绍峰。

可是到了年初,网上依然没有电影的开机新闻,直到5月份才等来了网剧《刺局》的拍摄消息。

虽然没有直接的金钱损失,但因为乐视资产风波导致项目滞后的明星有:
冯绍峰、王珞丹、张嘉译、江珊、柯蓝……
更别提那些受影响的小成本网剧和综艺项目了。


结语:
纵观乐视风波,其实2016年就有专业人士分析,乐视财报水分巨多。

黄健翔在接受采访时也曾隐晦地表达过,乐视体育拖欠自己工资。

到了今天,还有一些乐视网的股民在等待翻盘。

;
现在想想,乐视被套牢的半个娱乐圈的明星在跟风投资这件事上,他们与你我一样无知;被套牢以后,也同样被动。
是的,在杀人不见血的金融市场面前,无知者都是弱者,无知的明星也不例外。
做有深度的心灵SPA和有格调的故事
喜欢请分享哦!么么哒!
E姐换新Logo咯!各位闺蜜认准正版↓↓↓

都市男女的心灵SPA
以学术的严谨看贵圈
未经许可,谢绝转载
本站所发布的文字与图片素材为非商业目的改编或整理,版权归原作者所有,如侵权或涉及违法,请联系我们删除,如需转载请保留原文地址:http://www.gzkyz.com.cn/article/151638.html

高能E蓓子
倾诉你的情感,分享属于你们的故事 Copyright 2005-2020 www.gzkyz.com.cn 【可可情感网】 版权所有 |
湘ICP备20010517号-4
声明: 湖南华崛信息科技有限公司,部分信息与图片素材来源于互联网,如内容侵权与违规,请与本站联系,将在三个工作日内处理,互联网不良信息举报邮箱:*****@qq.com