日期:2022/07/06 14:13:38图片:未知人气:+
8月26日晚,各大视频平台先是将赵薇从其参演的作品中将名字删除,接着很快将相关作品全部下架,电视剧《还珠格格》、电影《亲爱的》《画皮》等均在列,甚至综艺《演员请就位》等也都被下架了。后续再去搜索赵薇的名字,直接提示“部分结果未予显示”,再也找不到任何相关的信息。同时赵薇在社交平台的超话也已经不见。


很明显,赵薇被封杀了。8月25日,就有疑似广电总局的消息放出,在一篇关注排查清理劣迹艺人节目及内容的通知上,霍尊、吴亦凡、郑爽、赵薇、范冰冰都被列入劣迹艺人,要求各影视平台清查涉及这些艺人的相关内容。

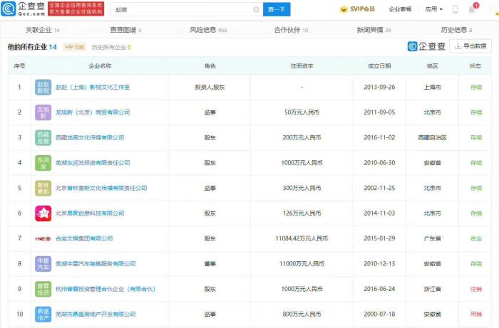
而种种迹象表明,赵薇此次被封杀其实并不突然。我们查询到,赵薇70%控股的北京普林赛斯文化传播有限责任公司退出多家公司股东行列,最近退出的一家公司为上海同童欣文化传播有限责任公司,该公司实控人由赵薇变更为魏启颖,而通过资料查询可知,魏启颖其实就是赵薇的母亲。有意思的是,这条最终受益人变更时间,刚好是8月26日。据悉,普林赛斯为赵薇旗下演出经纪公司,签约张哲瀚等艺人。

此外,今年4月底,赵薇作为被执行人,名下五家企业的股权先后被冻结,合计被冻结股权金额达1672.6万元!原本14家公司,目前注销两家,已吊销两家,在存续或者经营期间的共有7家。而剩下的公司大多也都存在着未结束的官司缠身,还有股权冻结、证券虚假陈述责任纠纷等多项风险。估计这些公司没有注销,是因为现在无法操作而已,


而据网友爆料,赵薇曾经给大粉报过平安,现在已经停掉所有工作,疑似为了躲避讨债人,准备出国,对于旗下艺人似乎也是不管不顾的状态。


赵薇旗下艺人并不多,有张哲瀚、吴宇恒、王智、王森、刘哲尔几人,张哲瀚因为前段时间在靖国神社拍照的问题,早已经不能出现在大众面前,小艺人吴宇恒等人因为名气不足,所以暂时没有被波及。

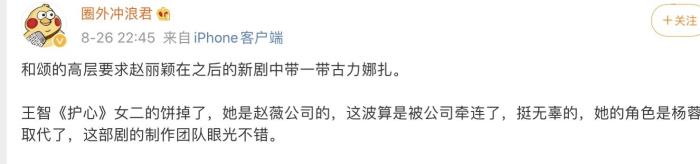
受到最大影响的就是王智,正在拍摄影视剧《护心》中,原本饰演一个比较出彩的女二,现在已经被撤下,原本女二换成了杨蓉。


这几年,王智在《夏洛特烦恼》后发展得并不好,直到和赵薇在综艺节目《演员请就位》中相识,赵薇当时就迅速签下了她。在这之后好不容易获得一个不错的作品邀约,结果还是不幸失去,不知道后续赵薇旗下等人会是如何的处境。

有的圈内人似乎也是得到了风声,也是反应迅速,先是杨紫在社交平台上删除了所有有关赵薇的信息。

要知道,杨紫一直把赵薇当作自己的偶像,在两人还不是很熟悉的时候,就曾经多次当方面转发、艾特赵薇,在熟悉之后,还曾经在赵薇的生日时给她送上祝福。


在去年赵薇参与制作的女性短片《听见她说》中,杨紫还是其中一个单元的女主角,可见两人之间的熟悉程度。

在杨紫之后,黄晓明也是迅速反应,同样在社交平台删除了相关信息。两人作为同学、圈内艺人,在毕业后也一直都联系,这几年更是频繁合作。


像是共同出演综艺节目《中餐厅》,今年更是准备再合作电视剧《玫瑰之战》,这部剧同样是在前几日,突然被曝出停拍、换人的消息,估计在那个时候,黄晓明就应该得到了相关消息,于是在各大网络平肃清的时候,黄晓明方面也做出了行动,生怕波及到自己。

看来娱乐圈没有永远的朋友,除了杨紫、黄晓明后,杨幂、李冰冰也迅速上线,杨幂也曾经出演短片《听见她说》,李冰冰作为赵薇的圈内好友,之前在社交平台上也有不少交集,现在他们的社交平台都已经不见了赵薇的相关消息,看来谁也不想被无辜牵连,急速撇清关系是最好的选择。

影视作品大批量下线,已经拍摄结束的《学区房》难以上映、还有各大合作品牌方,赵薇很可能还要面临赔偿。既然是各平台都在删除赵薇的相关信息,估计后续官方也会进行表态,我们还是观望、等待一下吧。
标签:
本站所发布的文字与图片素材为非商业目的改编或整理,版权归原作者所有,如侵权或涉及违法,请联系我们删除,如需转载请保留原文地址:http://www.gzkyz.com.cn/article/207223.html

安阳光影新天地
倾诉你的情感,分享属于你们的故事 Copyright 2005-2020 www.gzkyz.com.cn 【可可情感网】 版权所有 |
湘ICP备2021020401号
声明: 部分信息与图片素材来源于互联网,如内容侵权与违规,请与本站联系,将在三个工作日内处理,互联网不良信息举报邮箱:*****@qq.com